Инсталляция Vitra V8 768-5800-01 для унитаза без клавиши смыва
ID: 212675
Характеристики
Артикул
768-5800-01
Страна бренда:
Турция
Тип изделия:
Инсталляция
Материал:
Нержавеющая сталь
Все характеристики
25 190 р./шт
Мало
Нашли дешевле?
-
+
В корзину
Купить в 1 клик
Цена действительна только для интернет-магазина и может отличаться от цен в розничных магазинах
Описание
Инсталляция Vitra V8 768-5800-01 для унитаза.
Характеристики:
- Соответствует Европейским стандартам DIN EN 14055, NF, WRAS.
- Для установки за гипсокартонной перегородкой и перед капитальной стеной.
- Сохраняет пространство (глубина 8 см).
- Инсталляция совместима с любыми моделями подвесных унитазов.
- Функция простой и быстрой установки за счет инновационного шарового крана.
- Запатентованная технология фиксации наливного механизма позволяет подключить воду без использования инструментов ( защелкивающийся механизм, который защищает от протечек).
- Усиленная монтажная рама изготовлена из стали толщиной 2.2 мм, оцинкована снаружи и внутри и покрыта краской методом порошкового напыления, что полностью исключает коррозию и гниение.
- Материал: нержавеющая сталь, пластик.
- Водосберегающий механизм смыва 3/6 л от компании Fluidmaster (США).
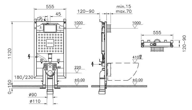
- Размер инсталляции (ШхВхД): 555х1120х90/120 мм.
- Бачок полностью покрыт шумоизолирующим пенопластом, который защищает от образования конденсата.
- Внутри бачков установлены ребра жесткости, которые защищают от статической нагрузки во время транспортировки и монтажа.
- Страхующая трубка перелива интегрирована в механизм смыва.
- Трубка подвода электрического кабеля к электронным унитазам, которая исключает необходимость манипуляций со стеной.
- Встроенная распределительная коробка в раме обеспечивает питание электрических устройств, таких как бесконтактные панели управления.
- Простое обслуживание через ревизионное окно (за панелью смыва) без использования инструмента. (панель смыва легко отщелкивается и ставится обратно).
- Возможность регулировки ножек инсталляции по высоте. Даже после укладки напольной плитки и изменения уровня пола есть возможность регулировки высоты инсталляции.
- Ножки оцинкованы и снабжены пружинным соединением для быстрой установки одним человеком.
- Защелкивающийся зажим патрубка с возможностью регулировки на 50 мм.
- Усиленные патрубки выдерживают монтажную нагрузку 130 кг (максимальное давление, которое может возникнуть во время монтажа.
- 6 точек крепления (4 точки крепления к капитальной стене, 2 точки крепления к полу).
- Шаровой кран поставляется в комплекте c наливной арматурой.
- Фильтр грубой очистки интегрирован в наливную арматуру.
- 100% инсталляций VitrA проходят тест на отсутствие микротрещин и отсутствие протечек.
- Инсталляции VitrA тестируются нагрузкой в 400 кг (loading test).
- Механизмы смыва и кнопки в инсталляциях тестируются на 200 000 смывов и нажатий - примерно 35 лет службы.
- Инсталляции тестируются на устойчивость к перепадам температуры воды с 4 градусов до 70 градусов.
В комплекте поставки:
- Инсталляция.
- Набор крепежей инсталляции к стене и полу.
- Набор крепежей унитаза к инсталляции.
- Инструкция по установке.
- Гарантийный талон.
Оплата
Способы оплаты заказа
- Наличными курьеру при получении заказа
- Наличными в нашем магазине при самовывозе
- Банковской картой курьеру при получении заказа или при самовывозе
- Онлайн оплата на сайте банковской картой
Вам будут предоставлены следующие документы
- Кассовый чек
- Гарантийный талон
Доставка
Доставка товара стоит от 400 ₽, но у нас есть отличное предложение для вас! Оставьте отзыв согласно нашим простым инструкциям (подробности здесь), и получите:
- БЕСПЛАТНУЮ доставку по Москве в пределах МКАД;
- Скидку 50% на доставку за пределами МКАД.
- бесплатно
- г. Москва, ул. Солнечногорская, д. 4, строение 6
- график: пн – пт: с 10:00 до 19:00; сб: с 10:00 до 15:00
Отзывы
Задать вопрос
Оставить отзыв
Характеристики
|
Артикул
|
768-5800-01 |
|
Страна бренда:
|
Турция |
|
Тип изделия:
|
Инсталляция |
|
Материал:
|
Нержавеющая сталь |
|
Ширина
|
555 мм |
|
Глубина
|
120 мм |
|
Высота
|
1120 мм |
|
Диаметр, мм
|
1290.2422253205 |
|
Другое название
|
Витра |
|
Тип объекта
|
Для квартиры |
|
Подвод воды
|
Нижний |




